PLAMEN Litinová krbová kamna ARIA - černá
PLAMEN Litinová krbová kamna ARIA - černá
Krbová kamna na tuhá paliva - jmenovitý výkon 8 kW, účinnost vytápění 82,1 %, energetická třída A+, Ekodesign 2022. Více
Kód produktu: 030421 Hmotnost: 118 kgDoprava a platba
Krbová kamna na tuhá paliva - jmenovitý výkon 8 kW, účinnost vytápění 82,1 %, energetická třída A+, Ekodesign 2022. Více
Kód produktu: 030421 Hmotnost: 118 kgDoprava a platba
Litinová krbová kamna ARIA vznikly v souladu s moderními trendy a zdobí je jednoduché, rovné linie - moderní design přizpůsobivý veškerým prostorům. Jsou vyrobena z vysoce kvalitní litiny. Velkými prosklenými dveřmi je k vidění celé topeniště, což poskytuje perfektní atmosféru otevřeného ohně. Vzhledem ke specifickému důvodu primárního a sekundárního vzduchu sklo zůstává čisté během provozu.
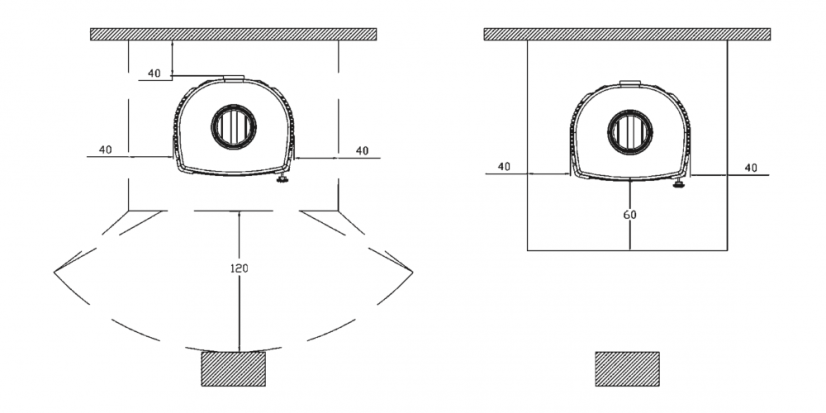
Bezpečnostní vzdálenost od hořlavých součástí :
- Strany = 40 cm
- Vzadu = 40 cm
- Vpředu = 100 cm
- Shora = 80 cm
POVOLENÁ A NEPOVOLENÁ PALIVA
Pec je určená pouze pro spalování dřeva a dřevěných briket, tedy paliva, které mají nízký obsah popela, jako jsou buk, habr, bříza. Je žádoucí, aby palivo bylo suché, tj. s obsahem vlhkosti ne vyšší než 20 %. Při přiložení vlhké dřevo vyrábí saze, které mohou způsobit ucpání komína. Mokré dřevo je obtížně spalovatelné, protože je třeba větší množství energie potřebné k odpaření vody. Čerstvé dřevo obsahuje přibližně 60 % vody, a proto není vhodné jako palivo. Jako palivo se nesmí používat: zbytky uhlí, dřevní odpad, zbytky dřeva nebo kůry a desek, vlhké dřevo nebo dřevo ošetřené lakem a plastické hmoty. Také nespalujte dřevotřísku, protože obsahuje lepidlo, které může způsobit přehřátí. Spalování těchto odpadů je zákonem zakázáno a může poškodit kamna a komín, a mít nepříznivé účinky na zdraví. Papír může být použit výhradně k podpalu.
Doporučené pro množství paliva:
Štípané dříví (délka ~33 cm) 1 až 2 kusy cca 2,5 kg
Dřevěné brikety 1 až 2 kusy cca 2 kg
V případě většího množství paliva se může stát, že sklo nezůstane úplně čisté.
Před instalací krbu si nechte zkontrolovat Váš komín od kominíka. Při instalaci a užívání dodržujte technický návod k použití.
Rozměry kamen viz obrázek níže:

EkoDesign 2022
| Interiérová topidla - parametry EkoDesign 2022 | Limitní hodnoty (platnost od 1. 1. 2022) |
Krbová kamna ARIA |
| CO - oxid uhelnatý [mg/m3] | 1 500 | 0,11 % |
| OGC - organické plynné sloučeniny [mg/m3] | 120 | 87 |
| NOx - oxid uhelnatý [mg/m3] | 200 | 112 |
| PM - pevné částice: HF [mg/m3] | 40 | 32 |
| Energetická účinnost vytápění [%] | 65+ | 82,1 |
Poznámka: veškeré emisní limity jsou uváděny při 13% podílu O2.
Často se ptáte, zda je možné redukování kouřovodů na jiný průměr, než je vývod z krbových kamen. Kamna lze s pomocí jednoduché redukce (dvojkuruží) zapojit z měnsího průměru (kamna) na větší (komín). Obráceně toto není možné.
| Barva | Černá |
|---|---|
| Typ zboží | krbová kamna |
| Typ kamen | litinová |
| Jmenovitý výkon (kW) | 8 |
| Maximální výkon (kW) | 11 |
| Šířka (cm) | 45 |
| Výška (cm) | 100,1 |
| Hloubka / délka (cm) | 40,5 |
| Průměr kouřovodu O (mm) | 150 |
| Rozměry topeniště (Š x V x H) | 420 x 350 x 260 mm |
| Rozměry otvoru topeniště (Š x V) | 300 x 350 mm |
| Materiál | litina, sklo |
| Vytápěcí schopnost | 160 m3 |
| Účinnost vytápění (%) | 82,1 |
| Energetická třída | A+ |
| Norma | EN 13240 |
| Palivo | dřevo a dřevěné brikety |
| Trouba | ne |
| Plotýnka | ne |
| Popelník | ano |
| Zásobník na dřevo | ne |
| Externí přívod vzduchu | ano |
| Teplovodní výměník | ne |
| EcoDesign 2022 | ano |
| CO - oxid uhelnatý | 0,11 % |
| OGC - organické plynné sloučeniny | 87 mg/m3 |
| PM - pevné částice | 32 mg/m3 |
| NOx - oxidy dusíku | 112 mg/m3 |
| Záruka | 24 měsíců |
| Průměr externího přívodu O (mm) | 80 |
| Barva | Černá |
|---|---|
| Typ zboží | krbová kamna |
| Typ kamen | litinová |
| Jmenovitý výkon (kW) | 8 |
| Maximální výkon (kW) | 11 |
| Šířka (cm) | 45 |
| Výška (cm) | 100,1 |
| Hloubka / délka (cm) | 40,5 |
| Průměr kouřovodu O (mm) | 150 |
| Rozměry topeniště (Š x V x H) | 420 x 350 x 260 mm |
| Rozměry otvoru topeniště (Š x V) | 300 x 350 mm |
| Materiál | litina, sklo |
| Vytápěcí schopnost | 160 m3 |
| Účinnost vytápění (%) | 82,1 |
| Energetická třída | A+ |
| Norma | EN 13240 |
| Palivo | dřevo a dřevěné brikety |
| Trouba | ne |
| Plotýnka | ne |
| Popelník | ano |
| Zásobník na dřevo | ne |
| Externí přívod vzduchu | ano |
| Teplovodní výměník | ne |
| EcoDesign 2022 | ano |
| CO - oxid uhelnatý | 0,11 % |
| OGC - organické plynné sloučeniny | 87 mg/m3 |
| PM - pevné částice | 32 mg/m3 |
| NOx - oxidy dusíku | 112 mg/m3 |
| Záruka | 24 měsíců |
| Průměr externího přívodu O (mm) | 80 |











